
瑞中泵業ZW無堵塞自吸排污泵是在反復研究國內外同類技術的基礎上開發成功的一種結構新穎的產品。

產品用途
ZW型無堵塞自吸排污泵即可象一般自吸清水泵那樣不需要安裝底閥,又可吸排含有大顆粒固體塊、長纖維、沉淀物、廢礦雜質、糞便處理及一切工程污水物??蓮V泛適用于市政排污工程、輕工、造紙、紡織、食品、化工、電業、石油、礦山和河塘養殖等行業。它是目前國內抽送固體顆粒、纖維、漿料和混合懸浮等介質最理想的雜質泵。
| 型 號 | 口徑(mm) | 流量(m3/h) | 揚程(m) | 功率 (kw) | 轉速 (r/min) | 自吸時間 (min/5m) | 效率 (%) | 汽蝕余量 (m) | 揚程(m) 使用范圍 | 重量 (kg) | |
| 進口 | 出口 | ||||||||||
| 25ZW8-15 | 25 | 25 | 8 | 15 | 1.5 | 2900 | 3 | 45 | 2.0 | 10-15 | 100 |
| 25ZW8-30 | 25 | 25 | 8 | 30 | 3 | 2900 | 3 | 45 | 2.0 | 24-30 | 120 |
| 32ZW5-20 | 32 | 32 | 5 | 20 | 2.2 | 2900 | 3 | 45 | 2.5 | 15-20 | 100 |
| 32ZW10-20 | 32 | 32 | 10 | 20 | 2.2 | 2900 | 3 | 45 | 2.5 | 15-20 | 100 |
| 32ZW9-30 | 32 | 32 | 9 | 30 | 3 | 2900 | 3 | 48 | 2.5 | 24-30 | 120 |
| 40ZW10-20 | 40 | 40 | 10 | 30 | 2.2 | 2900 | 3 | 45 | 2.5 | 15-20 | 100 |
| 40ZW20-15 | 40 | 40 | 20 | 15 | 2.2 | 2900 | 3 | 45 | 2.5 | 10-18 | 100 |
| 40ZW15-30 | 40 | 40 | 15 | 30 | 3 | 2900 | 3 | 48 | 2.5 | 24-30 | 120 |
| 50ZW10-20 | 50 | 50 | 10 | 20 | 2.2 | 2900 | 3 | 45 | 2.5 | 15-20 | 100 |
| 50ZW20-12 | 50 | 50 | 20 | 12 | 2.2 | 2900 | 3 | 45 | 2.5 | 10-18 | 100 |
| 50ZW18-20 | 50 | 50 | 18 | 20 | 3 | 2900 | 3 | 45 | 2.5 | 18-22 | 120 |
| 50ZW15-30 | 50 | 50 | 15 | 30 | 3 | 2900 | 3 | 48 | 2.5 | 24-30 | 120 |
| 50ZW20-35 | 50 | 50 | 20 | 35 | 5.5 | 2900 | 3 | 48 | 2.5 | 25-35 | 150 |
| 50ZW25-30 | 50 | 50 | 25 | 30 | 5.5 | 2900 | 3 | 48 | 2.5 | 25-30 | 150 |
| 50ZW20-40 | 50 | 50 | 20 | 40 | 7.5 | 2900 | 3 | 48 | 2.5 | 32-40 | 200 |
| 50ZW20-50 | 50 | 50 | 20 | 50 | 11 | 2900 | 3 | 48 | 2.5 | 40-50 | 250 |
| 65ZW30-18 | 65 | 65 | 30 | 18 | 4 | 2900 | 3 | 45 | 2.5 | 13-18 | 160 |
| 65ZW30-18 | 65 | 65 | 30 | 18 | 4 | 1450 | 3 | 45 | 2.5 | 13-18 | 200 |
| 65ZW25-30 | 65 | 65 | 25 | 30 | 5.5 | 2900 | 3 | 50 | 3.0 | 25-30 | 200 |
| 65ZW25-40 | 65 | 65 | 25 | 40 | 7.5 | 2900 | 3 | 50 | 3.0 | 32-40 | 200 |
| 65ZW40-25 | 65 | 65 | 40 | 25 | 7.5 | 2900 | 3 | 50 | 3.0 | 20-25 | 200 |
| 65ZW50-30 | 65 | 65 | 50 | 30 | 7.5 | 2900 | 3 | 50 | 3.0 | 25-30 | 200 |
| 65ZW65-25 | 65 | 65 | 65 | 25 | 7.5 | 2900 | 3 | 52 | 3.0 | 20-25 | 200 |
| 65ZW25-50 | 65 | 65 | 25 | 50 | 11 | 2900 | 3 | 53 | 3.0 | 40-50 | 280 |
| 80ZW40-16 | 80 | 65 | 40 | 16 | 4 | 2900 | 3 | 50 | 3.0 | 13-18 | 180 |
| 80ZW40-16 | 80 | 65 | 40 | 16 | 4 | 1450 | 3 | 50 | 3.0 | 13-18 | 200 |
| 80ZW50-20 | 80 | 65 | 50 | 20 | 5.5 | 1450 | 3 | 50 | 3.0 | 13-20 | 240 |
| 80ZW40-25 | 80 | 65 | 40 | 25 | 7.5 | 2900 | 2 | 50 | 3.0 | 20-25 | 200 |
| 80ZW25-40 | 80 | 65 | 25 | 40 | 7.5 | 2900 | 2 | 50 | 3.0 | 32-40 | 200 |
| 80ZW65-25 | 80 | 65 | 65 | 25 | 7.5 | 2900 | 2 | 52 | 3.0 | 20-25 | 240 |
| 80ZW80-20 | 80 | 65 | 80 | 20 | 7.5 | 1450 | 3 | 52 | 3.0 | 10-20 | 240 |
| 80ZW80-35 | 80 | 65 | 80 | 35 | 15 | 2900 | 3 | 45 | 3.0 | 30-35 | 285 |
| 80ZW40-50 | 80 | 65 | 40 | 50 | 18.5 | 2900 | 2 | 50 | 3.0 | 40-50 | 293 |
| 80ZW50-60 | 80 | 65 | 50 | 60 | 22 | 2900 | 3 | 55 | 3.0 | 48-60 | 326 |
| 100ZW100-15 | 100 | 80 | 100 | 15 | 7.5 | 1450 | 3 | 50 | 4.0 | 10-15 | 300 |
| 100ZW80-20 | 100 | 80 | 80 | 20 | 7.5 | 1450 | 3 | 53 | 4.0 | 10-20 | 300 |
| 100ZW100-20 | 100 | 80 | 100 | 20 | 11 | 1450 | 3 | 53 | 4.0 | 12-20 | 340 |
| 100ZW100-30 | 100 | 80 | 100 | 30 | 22 | 2900 | 2 | 53 | 4.0 | 25-30 | 510 |
| 100ZW80-45 | 100 | 80 | 80 | 45 | 30 | 2900 | 2 | 55 | 4.0 | 35-45 | 560 |
| 100ZW80-60 | 100 | 80 | 80 | 60 | 45 | 2900 | 2 | 53 | 4.0 | 50-60 | 585 |
| 125ZW120-20 | 125 | 125 | 120 | 20 | 15 | 1450 | 2 | 55 | 4.0 | 8-15 | 500 |
| 150ZW180-14 | 150 | 125 | 180 | 14 | 15 | 1450 | 3.5 | 60 | 5.0 | 8-14 | 500 |
| 150ZW150-20 | 150 | 125 | 150 | 20 | 15 | 1450 | 3.5 | 60 | 5.0 | 8-15 | 500 |
| 150ZW200-15 | 150 | 125 | 200 | 15 | 18.5 | 1450 | 3.5 | 60 | 5.0 | 8-15 | 550 |
| 150ZW200-20 | 150 | 125 | 200 | 20 | 22 | 1450 | 3 | 60 | 5.0 | 10-20 | 570 |
| 150ZW180-20 | 150 | 125 | 180 | 20 | 22 | 1450 | 3 | 60 | 5.0 | 10-20 | 570 |
| 150ZW160-30 | 150 | 125 | 160 | 30 | 30 | 1450 | 3 | 65 | 5.0 | 20-30 | 680 |
| 150ZW180-30 | 150 | 125 | 180 | 30 | 37 | 1450 | 3 | 65 | 5.0 | 20-30 | 700 |
| 150ZW180-38 | 150 | 125 | 180 | 38 | 55 | 1450 | 3.5 | 45 | 5.0 | 30-38 | 800 |
| 150ZW150-45 | 150 | 125 | 150 | 45 | 55 | 1450 | 3.5 | 45 | 5.0 | 35-45 | 800 |
| 200ZW280-14 | 200 | 150 | 280 | 14 | 22 | 1450 | 3 | 65 | 5.0 | 8-14 | 820 |
| 200ZW280-20 | 200 | 150 | 280 | 20 | 37 | 1450 | 3 | 62 | 5.0 | 10-20 | 910 |
| 200ZW300-20 | 200 | 150 | 300 | 20 | 45 | 1450 | 3 | 59 | 5.0 | 15-25 | 948 |
| 200ZW280-28 | 200 | 150 | 280 | 28 | 55 | 1450 | 3 | 55 | 4.8 | 18-28 | 1090 |
| 250ZW420-20 | 250 | 200 | 420 | 20 | 55 | 1450 | 2.5 | 61 | 6.0 | 12-20 | 1150 |
| 300ZW800-14 | 300 | 250 | 800 | 14 | 55 | 1450 | 2.5 | 65 | 6.0 | 8-14 | 1400 |
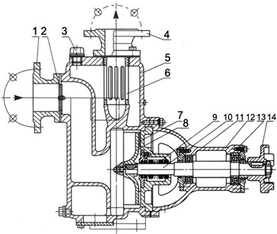
ZW型無堵塞自吸排污泵結構圖

ZW型無堵塞自吸排污泵安裝示意圖
| 1 | 泵 |
2 | 壓力表 | |
3 | 出口垂管 | |
4 | 吸入硬喉管 | |
5 | 彎頭 | |
6 | 流量控制閥 | |
7 | 出口管路 | |
8 | 加液螺塞 | |
9 | 真空表 |
ZW型無堵塞自吸排污泵安裝好壞對泵的運行和壽命有較大影響,所以必須仔細進行。(規范的泵管路安裝見示意圖)
1、ZW型無堵塞自吸排污泵吸入口的安裝高度盡量不要超過5米,應特別注意吸入管路的密封性,以免漏氣而影響泵的自吸能力和正常運行。
2、ZW型無堵塞自吸排污泵的出口處應先裝上一段垂管(一般為0.4~1米)和壓力表,然后再安裝出口流量控制閥門及其他管路。
3、要合理配置泵進、出口管路的長度和管徑,減少不必要的沿程水頭損失。(可參考直管摩擦損失簡表進行估算)
4、長距離輸送時應選用較大管徑。泵的管路應有自己的支架,泵體本身不允許承受管路的負荷。
5、排出管路如裝逆止閥應裝在出口流量控制閥門外面。
ZW型無堵塞自吸排污泵安裝使用與維修
ZW型無堵塞自吸排污泵的安裝
ZW型無堵塞自吸排污泵安裝好壞對泵的運行和壽命有較大影響,所以必須仔細進行。
1、ZW型無堵塞自吸排污泵吸入口的安裝高度盡量不要超過5米,應特別注意吸入管路的密封性,以免漏氣而影響泵的自吸能力和正常運行。
2、ZW型無堵塞自吸排污泵的出口處應先裝上一段垂管{一般為0.4~1米)和壓力表,然后再安裝出口流量控制閥門及其他管路。
3、要合理配置泵進、出口管路的長度和管徑,減少不必要的沿程水頭損失。(可參考直管摩擦損失簡表進行估算)
4、長距離輸送時應選用較大管徑。泵的管路應有自己的支架,泵體本身不允許承受管路的負荷。
5、排出管路如裝逆止閥應裝在出口流量控制閥門外面。
ZW型無堵塞自吸排污泵的使用
1、使用前,應檢查泵的旋轉方向是否正確,轉動是否靈活。
2、擰開泵體上方的加液螺塞,加滿儲液,然后旋緊螺塞。以后開機不需再加注儲液。不應在泵儲液不足的情況下啟動運轉,否則泵不能正常工作,且易損壞機械密封。
3、開機時,應先開啟出口流量控制閥,以便于自吸過程中的氣體排出。起動后,再調節好出口流量控制閥的開度,使壓力表讀數指到規定區域(各種泵型壓力控制范圍表),避免泵在規定區域的下限范圍內工作,以防因軸功率過大而引起電動機過載燒壞或因流量過大而使泵產生汽蝕,影響泵正常運轉,使泵強烈振動和發出噪聲。
4、運轉過程中,應經常檢查泵和電動機的溫升情況,如發現噪聲和其他不正常聲音時,應停機檢查,排除故障后方可再運行。
5、停機時,應先要關閉出口流量控制閥,然后再停機,以免因虹吸作用導致泵體內儲液量的不足。
6、定期進行加油、維護,如長期停止使用應將泵拆卸清洗上油,妥善保存。
管理員
該內容暫無評論